二极管的结构、特性、参数、稳压管的特性和参数
- 本文介绍的定义
- 一、半导体类型
- 二、PN结的结构与单向导电性
- 三、二极管的伏安特性
- 四、二极管的参数
- 五、稳压管
 
本文介绍的定义
本文介绍的定义:半导体、本征半导体、空穴、载流子、杂质半导体、N型半导体、P型半导体、PN结、内电场、漂移运动、扩散运动、动态平衡状态、空间电荷区宽度、电位壁垒、正向偏置、反向偏置、反向饱和电流、单向导电性、二极管、二极管的伏安特性、正向特性、死区电压、反向特性、反向击穿电压、二极管方程、最大整流电流、最高反向工作电压、反向电流、最高工作频率、电容效应、稳压管、稳定电压、稳定电流、动态内阻、额定功耗、电压的温度系数、稳压管电路。
一、半导体类型
半导体:导电能力介于导体和绝缘体之间。导电能力是由原子结构决定,硅和锗原子最外层轨道4个价电子。在硅或锗晶体中,原子在空间排列成规则的晶格,两个相邻原子共有一对价电子,组成共价键。

本征半导体:纯净不含杂质的半导体称为本征半导体,由于晶体共价键结合力很强,-273度时,晶体中不存在能导电的载流子,如果温度升高,如室温下,将有少数价电子克服共价键束缚成为自由电子,自由电子数量少,因此本征半导体导电力弱。
空穴:价电子成为自由电子时,原来共价键中留下一个空位,这个空位称为空穴。可以将空穴视为带正电的载流子。
载流子:半导体中存在两种载流子,自由电子和空穴。
杂质半导体:本征半导体掺入某种特定杂志。
N型半导体:4价硅和锗晶体掺入少量5价杂质元素如磷,这样会多出来一个电子,只受原子核吸引,容易成为自由电子。N型半导体中电子浓度大于空穴浓度,由于电子带负电,故用Negative表示。N型半导体多数载流子是电子,少数载流子是空穴。
P型半导体:4价硅和锗晶体掺入少量3价杂质元素如硼,杂质原子和周围硅原子组成共价键,将容易从其他位置的共价键中夺取一个电子,那其他地方就产生一个空穴。P型半导体中空穴浓度大于电子浓度。由于空穴带正电,故用Positive表示。P型半导体多数载流子是空穴,少数载流子是电子。
可见杂质半导体导电能力提高。
二、PN结的结构与单向导电性
半导体一侧掺杂成P型半导体,另一侧掺杂成N型半导体。
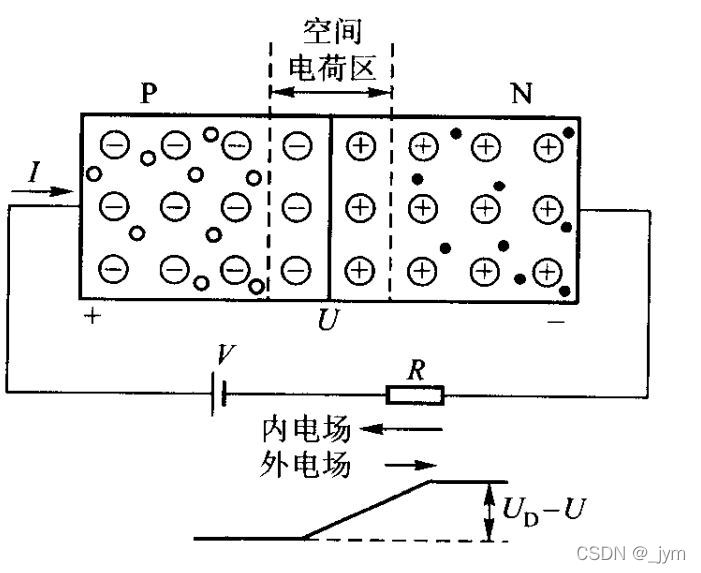
PN结:如下图所示,N区电子向P区扩散,P区空穴向N区扩散。电子空穴相遇,将消失。于是交界处产生由不能移动的正负离子组成的空间电荷区,称为PN结、耗尽层。
内电场:扩散后,P区带负电,N区带正电。二者之间产生生电位差,形成的电场称为内电场,方向从N指向P。内电场将阻止多数载流子继续扩散,有利于少数载流子运动,即有利于p区电子向N移,不利于P区空穴向N移。
漂移运动:载流子在电场作用下的定向移动。

PN结中两种载流子运动:多数载流子扩散运动产生扩散电流;少数载流子漂移运动产生漂移电流。
动态平衡状态:达到动态平衡时,扩散电路与漂移电流相等,PN结中总电流为0。
空间电荷区宽度:扩散,宽度增大,飘移,宽度减小,动态平衡,宽度稳定。很薄,几微米-十几微米。
电位壁垒Ud:硅,0.6-0.8V;锗,0.2-0.3V 。
正向偏置:PN结外加电压V,正极接P区,负极接N区。
如下图所示,外电场使P区空穴右移,与空间电荷区负离子中和;N区电子左移,与空间电荷区正离子中和,使空间电荷区变窄,有利于多数载流子的扩散运动,不利于少数载流子飘移运动。回路形成正向电流I,方向从P到N。
正向偏置,PN结接上小电压可得到大的正向电流,防止回路电流过大,加一个电阻R。

反向偏置:PN结外加电压V,正极接N区,负极接P区。
如下图,P区空穴和N区电子逐渐远离耗尽层,电位壁垒增加,不利于多数载流子扩散,有利于少数载流子漂移。回路中形成少数载流子运动产生的反向电流I。
反向饱和电流:反向电压超过一定值,反向电流不再增加,所以称为反向饱和电流。它对温度敏感。

单向导电性:因此,PN结正向偏置,回路中产生较大正向电流,PN结导通;PN结反向偏置,回路产生较小反向电流,PN结截止。可见,PN结具有单向导电性。
三、二极管的伏安特性
二极管:PN结外面装上管壳,再引出两个电极,阳极从P引出,阴极从N引出。就成为二极管。
二极管的伏安特性:用来描述二极管的性能。流过二极管的电流I与加在管子两端的电压U之间的关系曲线I=f(U) 就是二极管的伏安特性。

正向特性:图的右半部分展示正向特性。
死区电压:正向电压较小时,正向电流几乎为零,正向电压超过死区电压时,正向电流才开始快速增长。死区电压大小与二极管材料和温度等有关。硅,0.5V;锗,0.1V 。
反向特性:图的左半部分展示反向特性。
反向饱和电流:图中的Is表示反向饱和电流,一定范围内,反向电流不随着反向电压增大而增大。
反向击穿电压:反向电压继续升高,超过Ubr,反向电流急剧增大,这种现象为击穿。Ubr称为反向击穿电压。
二极管方程:也就是PN结伏安特性表达式,Is是反向饱和电流,Ut是温度的电压当量。

U小于0,那么u绝对值很大时候,e的u次方就是趋于0,那么I就等于-Is。
四、二极管的参数
最大整流电流If:二极管长期运行,允许通过管子的最大正向平均电流。由温升限定。
最高反向工作电压Ur:工作时,加在二极管的反向电压不能超过它,否则,二极管可能被击穿。
反向电流Ir:室温下,二极管两端加上规定的反向电压时,流过管子的反向电流,Ir越小越好,因为单向导电性越好。由少数载流子形成,受温度影响大。
最高工作频率fm:取决于PN结结电容大小,结电容越大,允许的fm越低。
电容效应:如果二极管两端电压变化,PN结中存储的电荷量也变化,像一个电容器。
五、稳压管
稳压管:也是一种二极管,工作在反向击穿区。实现稳压的原理就是,二极管工作在反向击穿区,反向电流变化大,但是管子两端电压变化小,稳压管伏安特性与符号如下图所示。

稳压管的主要参数如下。
稳定电压Uz:稳压管工作在反向击穿区时的工作电压,型号2DW7C稳压管,稳定电压在6.1-6.5V之间。
稳定电流Iz:稳压管正常工作时的参考电流,电流低于Iz,稳压性能变差,高于Iz,不超过额定功耗,稳压管正常工作。
动态内阻rz:稳压管两端电压和电流变化量之比,rz越小,稳压性能越好。
额定功耗:管子两端有电压,管子里面流过电流,需要消耗功率,部分功率转化为热能,使管子发热。
电压的温度系数:电流不变,温度变化1度,引起的稳定电压变化的百分比。电压的温度系数越小越好。
稳压管电路如下图所示。

1.外加电源正极接稳压管N区,负极接P区,因为,稳压管要工作在反向击穿区。
2.稳压管与负载电阻Rl并联,稳压管两端电压变化小,所以输出电压稳定。
3.流过稳压管的电流Iz不能超过规定值,避免过热烧坏管子。不能太小,小于临界值Izmin,稳压管失去稳压作用。
4.接入限流电阻R,用来调节稳压管的电流Iz大小。
本文图片参考杨素行老师的模电书。