1.实验内容
(1)从www.besti.edu.cn、baidu.com、sina.com.cn中选择一个DNS域名进行查询,获取信息
(2)尝试获取BBS、论坛、QQ、MSN中某一好友的IP地址,并查询获取该好友所在的具体地理位置
(3)使用nmap开源软件对靶机环境进行扫描,回答问题并给出操作命令
(4)使用Nessus开源软件对靶机环境进行扫描,回答问题并给出操作命令
(5)通过搜索引擎搜索自己在网上的足迹,并确认自己是否有隐私和信息泄漏问题,并练习使用Google hack搜集技能完成搜索(至少10种搜索方法)
2.实验过程
一.对baidu.com进行DNS域名查询,获取信息
(1)查询DNS注册人及联系方式
在kali虚拟机中使用命令whois baidu.com,查询该域名的注册信息


由结果可知:
注册人组织:北京百度网讯科技有限公司
注册人国家:中国
注册域名ID:11181110_DOMAIN_COM-VRSN
注册商:MarkMonitor Information Technology (Shanghai) Co., Ltd.
注册商IANA ID:3838
注册机构:MarkMonitor Inc.
注册商滥用投诉电话:+1.2083895740
注册商滥用投诉邮箱:abusecomplaints@markmonitor.com
(2)查询对应域名的IP地址
使用命令dig baidu.com查询DNS解析信息,包括IP地址、服务器配置等信息

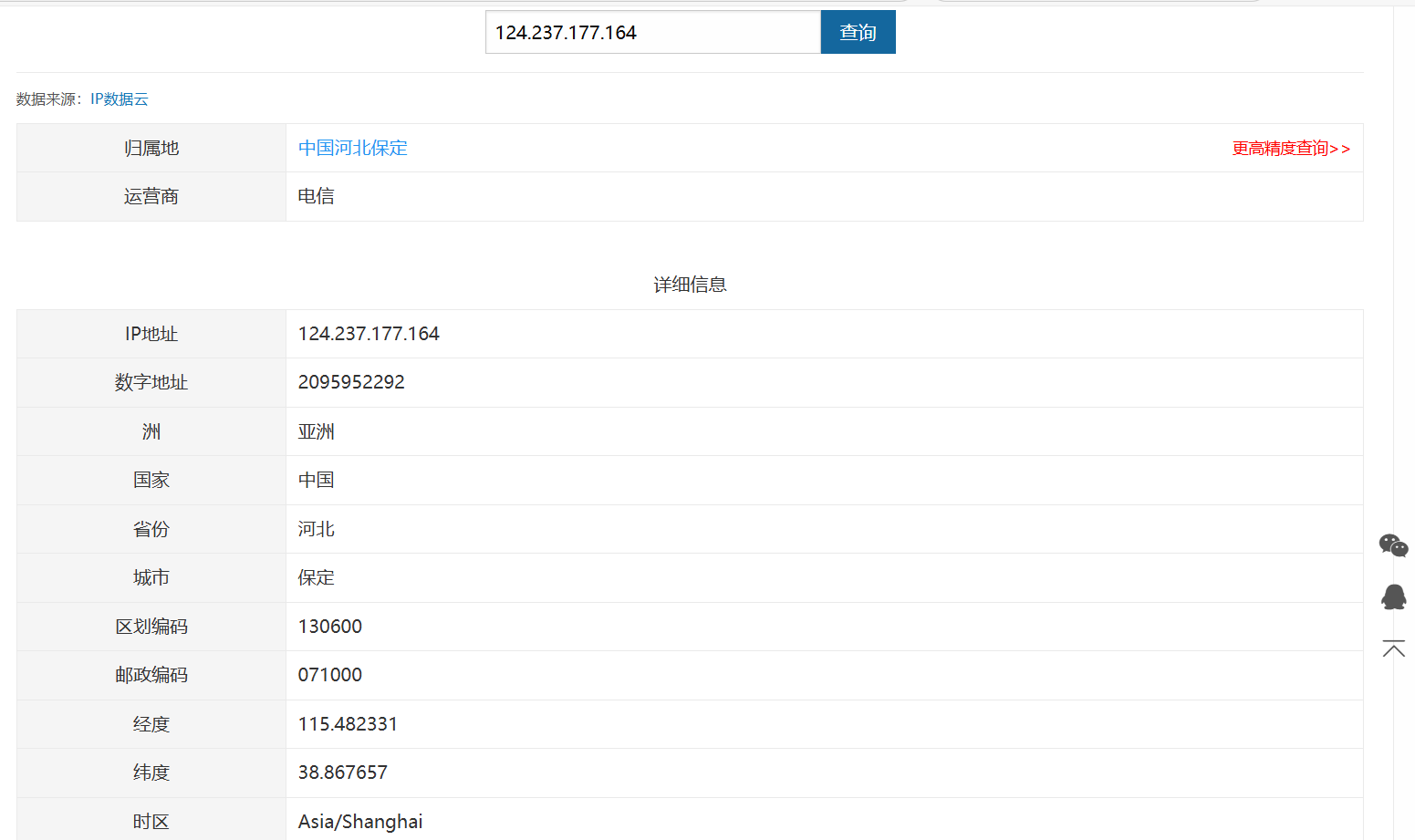
可以找到baidu.com的4个ip地址:110.242.74.102、124.237.177.164、111.63.65.240、111.63.65.33
在kali虚拟机中输入命令nslookup baidu.com,同样可以得到baidu.com的4个ip地址:

在本地DNS服务器的缓存解析到了110.242.74.102、124.237.177.164、111.63.65.240、111.63.65.33四个IP地址,验证了百度使用的多IP负载均衡策略
(3)查询IP地址注册信息
使用whois命令,可以得到IP地址的注册人和他的邮箱、电话,以及IP地址的地址信息
对于IP地址110.242.74.102
IP地址归属信息:
- IP地址段: 111.0.0.0 - 111.63.255.255
- 网络名称: CMNET
- 所属机构: China Mobile Communications Corporation

注册人/组织信息:
- 组织名称: China Mobile
- 国家: CN
- 地址: 29, Jinrong Ave.,Xicheng district
- 电话: +86-10-5268-6688
- 传真: +86-10-5261-6187

对于IP地址124.237.177.164
IP地址归属信息:
- IP地址段: 124.236.0.0 - 124.239.255.255
- 网络名称: CHINANET-HE
- 所属机构: CHINANET hebei province network

注册人/组织信息:
- 组织名称: Chinanet Hostmaster
- 国家: CN
- 地址: No.31 ,jingrong street,beijing
- 电话: +86-10-58501724
- 传真: +86-10-58501724

其余两个地址信息查询方式同理
(4)IP地址所在国家、城市和具体地理位置
在kali虚拟机中输入命令traceroute baidu.com,可以得到数据包到baidu.com(111.63.65.33)的传输路径。全是* * *原因是后续路由节点禁止响应ICMP超时包或网络路由限制,路由追踪被阻断。

使用“UU在线工具”查询IP地址的具体位置




其中,110.242.74.102、124.237.177.164在河北保定,111.63.65.240、111.63.65.33在河北石家庄。
二.尝试获取QQ中某一好友的IP地址,并查询获取该好友所在的具体地理位置
给某一QQ好友打语音电话并开启wireshark抓包,使用命令udp and ip.addr==172.16.177.176筛选IP为主机地址,并且传输协议为UDP的数据包


对方ip为58.23.249.98,查询得位置在中国福建厦门,与实际相符
三.使用nmap开源软件对靶机环境进行扫描
我使用WinXP虚拟机作为靶机,Kali虚拟机作为攻击机
分别查看靶机与攻击机的IP地址,其中靶机IP地址为192.168.183.147,攻击机的IP地址为192.168.183.128


(1)检查靶机IP地址是否活跃
通过命令nmap -sn 192.168.183.147进行ping扫描,查询靶机是否在线。结果为在线。

(2)检查靶机IP地址开放的端口
通过命令sudo nmap -sS 192.168.183.147进行SYN扫描,查询靶机开放的TCP端口

查询结果为靶机开放的TCP端口有135、139、445端口。其中135端口提供Microsoft RPC服务,139端口提供NetBIOS会话服务,445端口提供Microsoft目录服务
通过命令sudo nmap -sU 192.168.183.147进行UDP扫描,查询靶机开放的UDP端口

查询结果为靶机开放的UDP端口有123、137端口。开放但被过滤的端口有138、445、500、1048、1900、4500端口。其中123端口是网络时间协议,137端口是NetBIOS名称服务
(3)靶机安装的操作系统及版本
通过命令sudo nmap -O 192.168.183.147,查询靶机安装的操作系统及版本。查询结果为靶机开放的操作系统是Microsoft Windows XP。具体版本可能是Windows XP SP2/SP3

(4)靶机安装的服务
通过命令sudo nmap -sV 192.168.183.147,查询靶机安装的服务。查询结果为靶机安装的服务是远程过程调用服务和文件打印机共享服务。通过135端口,可以支持程序间的网络通信。通过139端口和445端口可以在局域网内共享文件和打印机,让其他计算机访问它的资源

四.使用Nessus开源软件对靶机环境进行扫描
(1)靶机上开放的端口
打开nessus,选择create new scan,选择其中的host discovery。在扫描配置界面,输入任务名称、描述、文件夹与目标主机。前三个可以任意填写,随后一个需填写靶机的IP地址

保存并扫描,扫描结果显示,靶机开放的端口有135、139、445端口

(2)靶机各个端口上网络服务存在的安全漏洞
创建new scan,选择advanced scan,进行扫描。扫描结果如下图:

结果显示,按照漏洞的严重程度分类,靶机存在以下四种漏洞:
(1)严重漏洞
漏洞名称:Microsoft Windows XP Unsupported Installation Detection
风险:系统版本过时,目标主机运行的是微软 Windows XP 系统,其官方支持已于 2014 年 4 月 8 日终止;安全补丁缺失,微软不再为该系统发布新的安全补丁,这意味着系统中很可能存在大量未修复的安全漏洞,极易被攻击者利用。无官方响应,微软不会再调查或认可该系统的漏洞报告,一旦出现安全问题,无法获得官方技术支持和修复。

(2)高危漏洞
漏洞名称:SMB NULL Session Authentication
风险:目标主机运行的 SMB 协议存在未认证访问漏洞,攻击者可无需账号密码,通过空会话登录 “browser” 或 “spoolss” 管道,进而获取目标主机的信息。会造成影响:未经认证的远程攻击者可利用该漏洞收集目标主机的敏感信息,为进一步的攻击(如漏洞利用、权限提升等)奠定基础。

(3)中危风险
漏洞名称:SMB Signing not required
风险:远程 SMB 服务器未要求消息签名,未经认证的远程攻击者可利用此漏洞对 SMB 服务器实施中间人攻击。攻击者可通过中间人攻击窃取、篡改 SMB 通信中的数据,威胁网络通信的安全性和数据完整性。

(4)低危风险
漏洞名称:ICMP Timestamp Request Remote Date Disclosure
风险:目标主机响应 ICMP 时间戳请求,攻击者可借此获取目标机器的系统时间。这可能帮助未认证的远程攻击者破解基于时间的认证协议。不过在 Windows Vista/7/2008 等系统上,返回的时间戳会故意不准确,但通常与实际系统时间的误差在 1000 秒内。

(3)攻陷靶机环境,获得系统访问权的方法
使用编号为MS17-010的永恒之蓝漏洞,它主要利用了SMB协议,影响的是TCP 139和445端口
在kali中输入:

从返回值“[+] 192.168.183.147:445 - Overwrite complete... SYSTEM session obtained!”中可以看出,永恒之蓝漏洞已经被利用,可以在目标系统上执行意代码,并且获得最高权限(system)。
五.通过搜索引擎搜索自己在网上的足迹,并确认自己是否有隐私和信息泄漏问题,并练习使用Google hack搜集技能完成搜索
(1)搜索自己在网上的足迹
搜索已经的名字,由于我的名字重复率很高,所以优先搜索到许多知名人士,并没有查询到自己

搜索自己的学号,发现博客园中的博客若干和其他信息

搜索自己的手机号,能够判断出我手机号所在的位置

综上,我的信息未涉及财产、健康、行踪等高敏信息。虽在一定程度上有信息泄露,但无隐私泄露问题。
(2)练习使用Google hack搜集技能完成搜索
1.site: 限定域名搜索
该语法可将搜索范围锁定在指定域名或子域名内,排除其他无关网站干扰,适合聚焦某一平台搜集信息

2.filetype: 特定文件类型搜索
用于搜索指定格式的文件,常见文档、数据文件等都可通过该语法精准获取,是搜集资料的常用技能

3.intitle: 标题关键词搜索
仅搜索标题中包含目标关键词的网页,标题通常是内容核心概括,该语法能提高搜索结果的相关性

4.inurl: URL 含关键词搜索
针对网页 URL 中包含的关键词检索,适合挖掘网站特定目录、功能页面,网络安全领域常用其找管理入口等

5.intext: 正文关键词搜索
限定搜索网页正文中包含目标关键词的内容,可忽略标题、URL 等无关信息,聚焦页面核心内容

6.cache: 查看网页缓存
用于调取 Google 缓存的网页版本,适合原网页失效、加载失败时查看历史内容

7.related: 查找相似网站
能搜索与指定网站内容、类型相近的其他网站,适合拓展信息来源

8.“” 精确短语匹配
给关键词或短语加半角双引号,强制 Google 不拆分短语,精准匹配完整内容,避免模糊搜索带来的无关结果

9.- 排除关键词搜索
用减号排除不需要的关键词,筛选掉无关结果,优化搜索范围

10... 数值范围搜索
用两个英文点号表示数值区间,适用于日期、价格、版本号等范围类搜索

3.问题及解决方案
问题一:安装nessus时,提示“Nessus has no plugins. Therefore, functionality is limited.”重复安装了很多遍也没有用。
问题1解决方案:耐心等待,过了10分钟不进行任何操作就好了
4.学习思考、感悟
本次《网络与系统攻防技术》实验让我沉浸式体验了信息搜集的全流程,从域名 IP 查询到靶机漏洞挖掘,每一步操作都让我对网络安全技术有了更深刻的认知。实验不仅锻炼了实操能力,更让我体会到攻防技术的严谨性与重要性。实验中,nmap 与 Nessus 工具的使用让我直观感受到扫描技术的强大,通过精准指令能快速获取靶机端口、系统版本及漏洞信息。但操作中也暴露诸多问题,如靶机防火墙阻碍扫描、Nessus 插件下载失败等,这些问题让我明白,网络攻防不仅是技术操作,更需要排查问题的耐心与思路。在尝试利用永恒之蓝漏洞攻击时,因 Payload 版本不匹配导致攻击未果,让我认识到细节对攻击成败的关键影响。此外,个人网络足迹搜索与 Google Hack 技能实践,让我深刻意识到个人信息保护的紧迫性。看似普通的姓名、学号等信息,经技术手段整合后可能形成完整个人画像。此次实验让我明白,网络安全是攻防的动态平衡,既要掌握攻击技术以识别漏洞,更要树立防护意识。未来我将加强技术积累,注重细节打磨,提升解决实际问题的能力,为网络安全防护筑牢基础。