定义:
耦合方式、阻容耦合、变压器耦合、直接耦合、零点漂移、零漂
耦合方式:多级放大电路内部各级之间的连接方式称为耦合方式。常用的耦合方式有三种,阻容耦合、变压器耦合、直接耦合。
阻容耦合:电路的第一级与第二级之间通过电阻和电容元件相连接,故称为阻容耦合放大电路。

特点:
1.各级的静态工作点各自独立,互不影响,这是因为前后级之间通过电容连接,级与级之间的直流通路是断开的;
2.信号能够得到充分的利用,因为,当耦合电容的容值足够大时,在一定的频率范围内,前一级的输出信号将几乎不衰减地传送到后一级的输入端。
3.缺点:不适合传送缓慢变化的信号, 当缓慢变化信号通过电容时,将被严重地衰减;集成电路工艺很难制造大容量的电容,阻容耦合方式在集成放大电路中无法采用。
变压器耦合:变压器能够通过磁路的耦合将一次侧的交流信号传送到二次侧,所以,也可以作为多级放大电路的耦合元件。如图,变压器T1将第一级的输出信号传送给第二级,变压器T2将第二级的输出信号传送给负载。

特点:变压器耦合方式具有阻抗变换作用,可以利用变压器的这一特点组成功率放大电路,因为等效负载电阻会变大;前后级的直流通路互相隔离,因此各级静态工作点互相独立;缺点是变压器比较笨重,无法集成化,缓慢变化的信号和直流信号也不能通过变压器。
直接耦合:将前级的输出端直接或者通过电阻接到后一级的输入端。直接耦合放大电路既能放大交流信号,又能放大缓慢变化信号和直流信号,也便于实现集成化。简单地将两个单管放大电路直接连在一起有可能使放大电路不能正常工作,如果三极管 VT1的集电极电位与VT2的基极电位相等,约为0.7V左右,此时VT1的静态工作点接近饱和区,无法正常进行放大。

解释:硅管静态工作点Ubeq=0.6-0.8,VT1的集电极电位也是0.7的话就偏低了,就会容易出现饱和失真,如下图。

为了使直接耦合的两个放大级各自都有合适的静态工作点,有几种办法:
下面是第一种办法,T2的发射极接入一个电阻Re2,提高了第二级的发射极电位Ue2和基极电位Ub2。从而使第一级的集电极具有较高的静态电位,避免工作在饱和区。接入 Re2后,将使第二级的放大倍数下降。
解释,为什么使第一级的集电极具有较高的静态电位,是因为第一级集电极电位就是第二极的基极电位;为什么第二级基极电位增加了,因为发射极电位增加,然后第二级Ubeq=0.6-0.8(电子到基区,基区是P型,基区多子是空穴,电子空穴复合,产生基极电流Ibn,基区空穴浓度低,基区薄,电子在基区与空穴复合的少,基极电流小),由于Ue增加了,那么Ub就得增加。

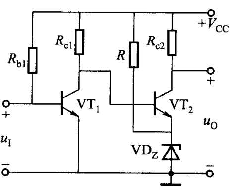
下面是第二种办法,用稳压管VDz代替图(a)中的Re2。因为稳压管的动态内阻通常很小,一般在几十欧的数量级,因此第二级的放大倍数不致下降很多,而且接入稳压管相当接入一个固定电压,使VT2集电极的有效电压变化范围减小。

解释:稳压管的伏安特性曲线如下,实现稳压的原理就是,二极管工作在反向击穿区,反向电流变化大,但是管子两端电压变化小,稳定电压Uz:稳压管工作在反向击穿区时的工作电压,型号2DW7C稳压管,稳定电压在6.1-6.5V之间(看下图那个U左边从原点到电流变化大的那一段就是稳定电压的值)。所以说接入稳压管相当接入一个固定电压。

前两种办法,当耦合的级数更多时,集电极的电位将愈来愈高。为了保证三极管工作在放大区,必须使发射结正向偏置,集电结反向偏置,对于NPN三极管,要求Ube>0,Ubc<0,也就是集电极电位要高于基极电位。如果级数增多,由于集电极电位逐级上升,最终将因电源电压的限制而无法实现。
解释:为什么集电极的电位将愈来愈高,因为集电极是输出的放大的信号,经过好几个放大,电位升高。为什么由于集电极电位逐级上升,最终将因电源电压的限制而无法实现,因为外加电源极性应使集电结反向偏置,反向偏置:PN结外加电压V,正极接N区,负极接P区。这里面三极管NPN,所以集电极是N区,正极接N区。那么就明白了集电极电位其实就是电源电压给的,所以集电极电位逐级上升,那也就说明外加电压Vcc就得上升。
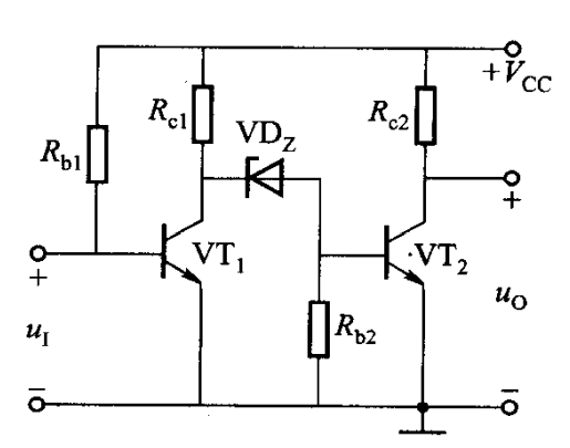
下图是把前一级的集电极经过一个稳压管再接至后级的基极,这样既降低了第二级基极的电位,又不致于使放大倍数损失太大。

下面这个电路后级采用了 PNP管,由于PNP管的集电极电位比基极电位低,因此,即使耦合的级数较多,也可以使各级获得合适的工作点,而不至于造成电位逐级上升。

零点漂移现象:直接耦合方式带来的主要问题是存在零点漂移现象,假设将一个直接耦合放大电路的输入端对地短路,并调整电路使输出电压也等于零。从理论上说,输出电压应一直为零保持不变,但实际上,输出电压将离开零点,缓慢地发生不规则的变化。
产生零点漂移的主要原因是:放大器件的参数受温度的影响而发生波动,导致放大电路的静态工作点不稳定,而放大级之间又采用直接耦合方式,使静态工作点的缓慢变化逐级传递和放大。一般直接耦合放大电路放大倍数越高,零点漂移问题越严重。
零漂—零点漂移的技术指标:通常用折合到放大电路输入端的零漂来衡量,即将输出端的漂移电压除以电压放大倍数。对于一个高质量的直接耦合放大电路,要求它既有很高的电压放大倍数,零点漂移又比较低。
抑制零点漂移方法:引入直流负反馈以稳定Q点来减小零点漂移;利用热敏元件补偿放大管的零漂,在放大电路中接入另一个对温度敏感的元件,如热敏电阻、半导体二极管等,使该元件在温度变化时产生的零漂,能够抵消放大三极管产生的零漂。如下图,放大管VT1的基极引入了另一个接成二极管的三极管VT2当温度升高时,放大管的集电极电流将增大,但与此同时,VT2的发射结电压Ube2将减小,使VT1的基极电位Ubi降低,导致Ic1减小,从而补偿了输出端的零点漂移;将两个参数对称的单管放大电路接成差分放大电路的结构形式,使输出端的零漂互相抵消。

多级放大电路的电压放大倍数:等于各级电压放大倍数的乘积。