一、MOS 驱动电流的计算方法
MOS 管在开关时,驱动电路主要是给栅极充放电。栅极电流 不是用来维持电流,而是用来克服电容的充放电需求,尤其是总栅极电荷 Qg。
驱动电流估算公式如下:
I_drive = Qg × f_sw(Qg:总栅极电荷(单位:nC)——数据手册中可查 f_sw:开关频率)
假设一个MOS管的数据手册上写着:
Qg = 50nC(在 Vgs = 10V 条件下) ; f_sw = 900kHz
则所需的平均驱动电流为: I_drive = 50nC × 900kHz = 45mA
但这只是平均电流,实际上是脉冲电流。因为MOS管开关时电流是突发性的。
更严谨的设计,会参考峰值栅极电流: I_peak = C_iss × (dV/dt)
或者直接从驱动时间考虑: I_drive = Qg / t_rise
比如希望 50nC 的栅极电荷在 50ns 内完成:I_drive = 50nC / 50ns = 1A
所以你会看到很多驱动芯片能提供 1~4A 峰值电流,就是为了在几十纳秒内快速推动Qg。
二、驱动电流太小 or 太大的影响
| 驱动电流 | 影响 |
|---|---|
| 太小 | 栅极充放电慢,导致MOS在“线性区”停留时间变长,开关损耗大,器件发热大,效率低,甚至烧毁 |
| 太大 | 可能产生过冲、振铃严重,PCB布线电感影响大,EMI增加,栅极易被击穿,驱动芯片超载 |
所以:驱动电流不是越大越好,而是需要合适匹配Qg 和开关速度,还要考虑电路的阻尼和EMI设计。
三、如何在数据手册上查找相关信息
打开MOS管的数据手册,重点看以下几个参数:
| 参数名 | 意义 |
|---|---|
| Qg (Total Gate Charge) | MOS完全导通所需的电荷(nC) |
| Qgs / Qgd | 栅源、栅漏之间的电荷,对开关速度影响大 |
| C_iss / C_gs | 输入电容,和Qg有关 |
| Vgs(th) | 栅源阈值电压 |
| Rds(on) | 导通电阻,不直接影响驱动但影响发热 |
总结一句话:
驱动电流 = Qg / t_sw 或 Qg × f_sw
既要足够大保证快速开关,避免损耗;也要不过大避免震荡和EMI,适配驱动芯片输出能力
一款4A的灌电流的栅极驱动芯片:
3.7A 输出拉电流、4.5A 输出灌电流

低寄生电容的MOS:



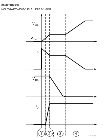
MOS的导通特性:(画一下MOSFET的开关过程)
MOS的导通受到寄生电容的影响。

