🍅 作者主页:Java李杨勇
🍅 简介:Java领域优质创作者🏆、Java李杨勇公号作者✌ 简历模板、学习资料、面试题库、技术互助【关注我,都给你】
主要技术:Java、springmvc、mybatis、mysql、tomcat、jquery、layui、bootstarp、JavaScript、html、css、jsp、log4j等一些常见的基本技术。目前是主打酒类商品平台、可以根据后台配置为各种类型的springboot商城项目、比如:手机商城 、家具商城、水果商城、图书馆商城等
可以说是最具质量的springboot商城项目、哈哈哈哈哈哈
主要具体功能模块:
用户登录注册、首页商品分离查询、商品关键字查询商品
商品购买、加入购物车功能、订单功能
支付功能(模拟支付成功)
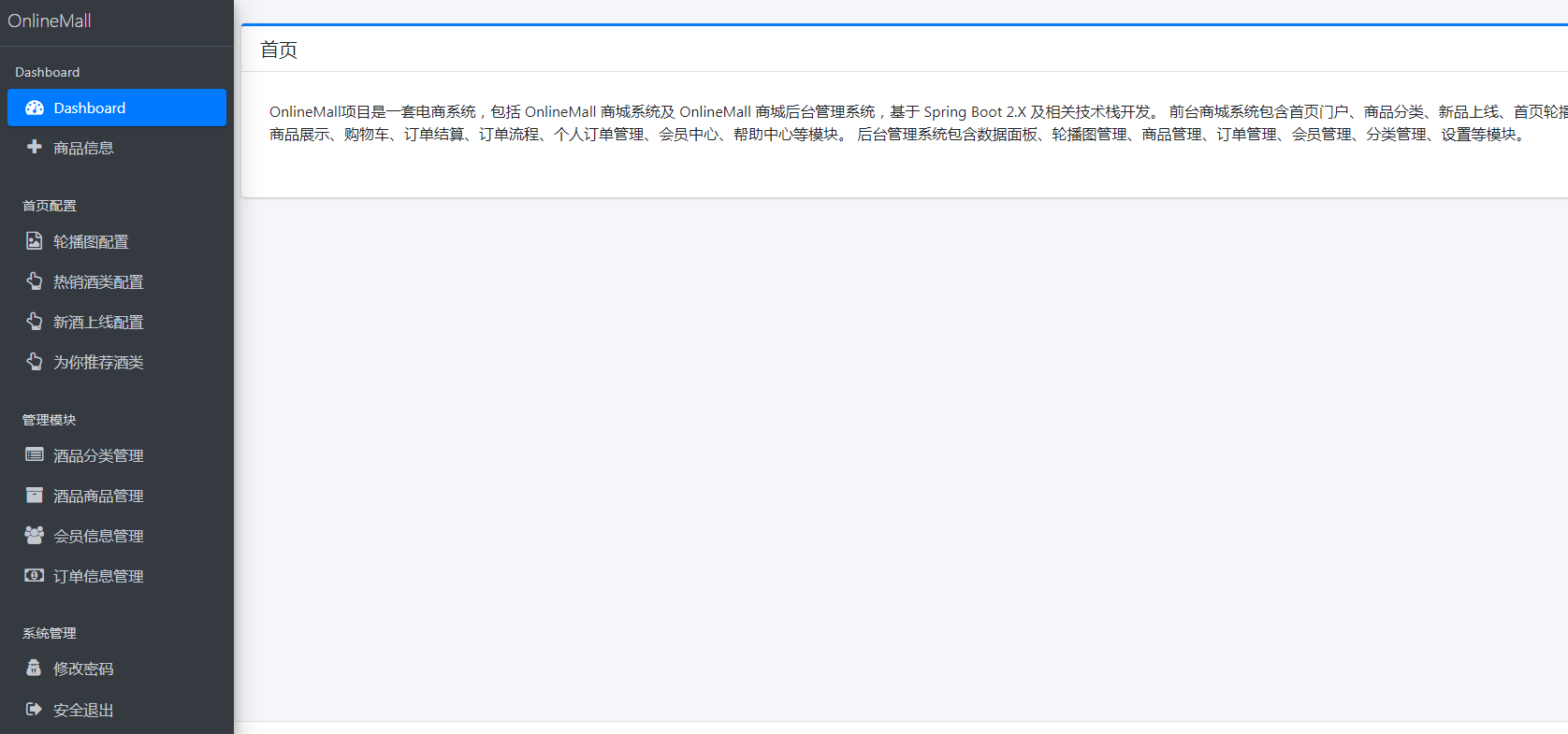
后台管理员功能:
首页轮播图配置:
热销商品配置:新品商品配置:
推荐商品配置:商品类型管理:
商品详情管理:会员信息管理:
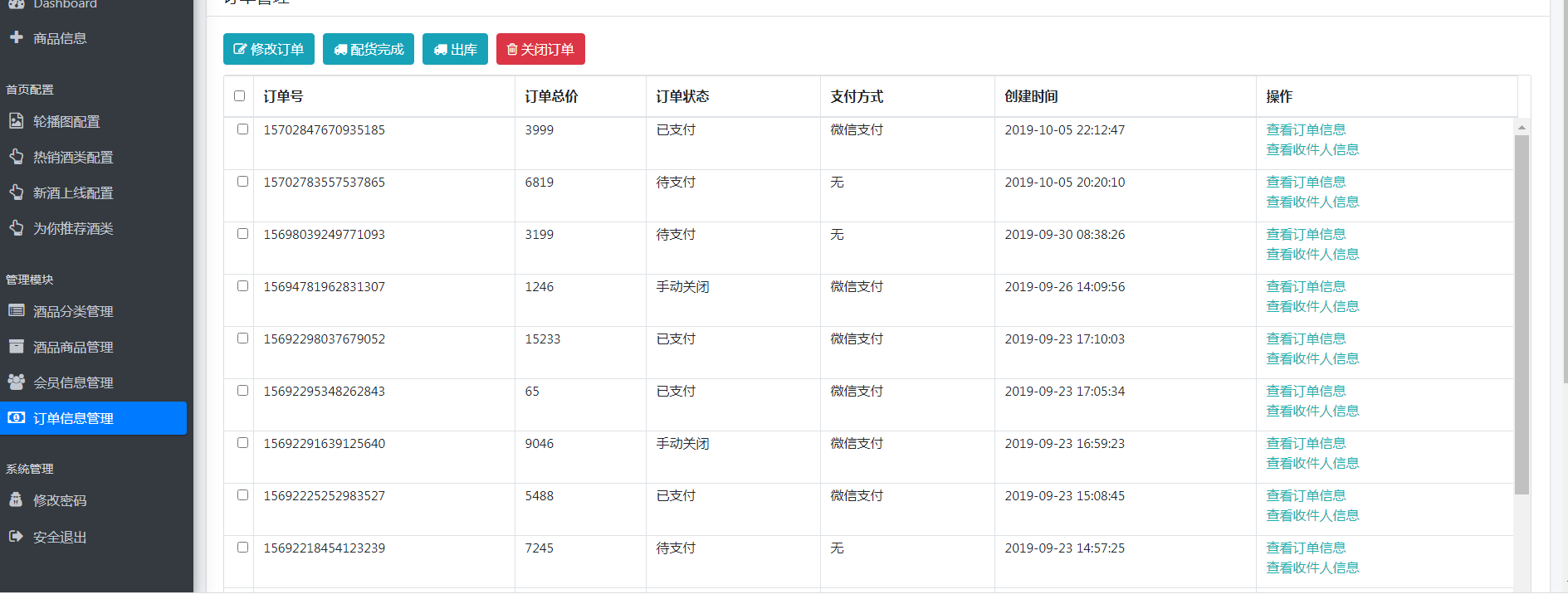
订单管理;用户管理 退出、修改密码
下面给大家截图主要功能图吧:














好了,今天就到这儿吧,小伙伴们点赞、收藏、评论,一键三连走起呀,下期见
获取源码:
总体来说这个项目功能相对还是比较简单优秀的、适合初学者作为课程设计和毕业设计参考
查看博主主页联系或下方微信公众号获取联系~
往前精彩分享:
Java毕设项目精品实战案例《100套》
HTML5大作业实战案例《100套》