🍅 作者主页:Java李杨勇
🍅 简介:Java领域优质创作者🏆、Java李杨勇公号作者✌ 简历模板、学习资料、面试题库、技术互助【关注我,都给你】
🍅 欢迎点赞 👍 收藏 ⭐留言 📝
🍅 文末获取源码联系方式🍅
运行环境: java jdk 1.8,
IDE环境: IDEA
tomcat环境: Tomcat 7.x,8.x,9.x版本均可
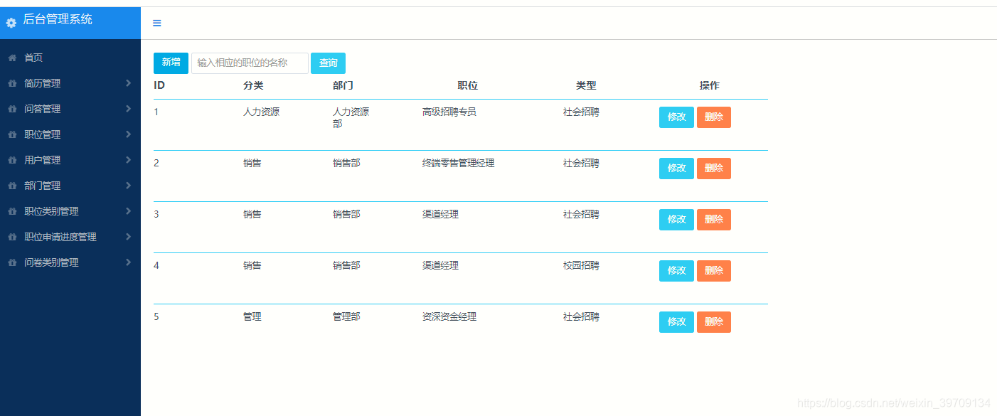
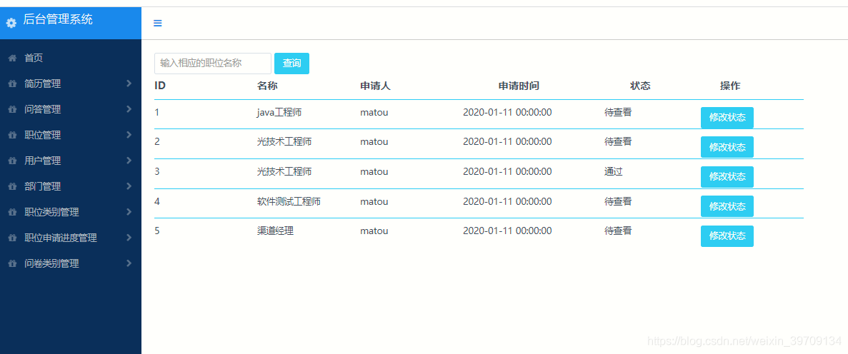
主要功能说明: 管理员登录,简历管理,问答管理,职位管理,用户管理,职位申请进度更新,查看简历等功能。
用户角色包含以下功能:用户首页,登录注册,职位查看,职位详情,投递简历,查看我的申请,管理个人简历,附件简历管理等功能。
技术框架: HTML+CSS+JavaScript+jsp+mysql+Spring+SpringMVC+mybatis
数据库: Mysql数据库,
主要功能截图:















相关系统设计实现推荐:
基于java springboot+mybatis电影售票网站管理系统前台+后台设计和实现
基于java ssm springboot+mybatis酒庄内部管理系统设计和实现
基于JAVA springboot+mybatis智慧生活分享平台设计和实现
查看更多博主首页更多实战项目 >>>
获取源码:
查看主页博主联系或点击下方微信获取~!
往前精彩分享:
Java毕设项目精品实战案例《100套》
