阻塞处理策略:调度过于密集执行器来不及处理时的处理策略,策略包括:单机串行(默认)、丢弃后续调度、覆盖之前调度
| 阻塞处理策略 | 说明 |
|---|---|
| 单机串行(默认) | 任务依次排队执行 |
| 丢弃后续调度 | 当上一个任务没有执行完,当前这个任务不会执行 。 例子:A任务每隔5秒执行一次,2021-02-15 10:05:05 执行A任务,2021-02-15 10:05:10 A任务不执行 |
| 覆盖之前调度 | 之前的任务没有执行完,就会取消之前的任务执行当前这个任务。不建议使用 |
二、单机串行
2.1. 创建执行器

2.2. 配置单机串行策略

2.3. 启动任务


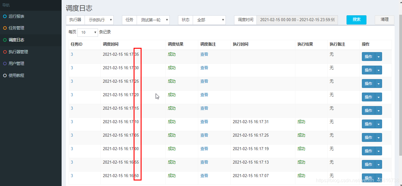
2.4. 执行日志
每隔5秒尚未执行完毕


2.5. 任务关闭
任务继续执行,因为排队的任务尚未执行完毕


三、单机串行
3.1. 创建执行器

3.2. 配置丢弃后续调度策略

3.3. 启动任务

3.4. 控制台日志

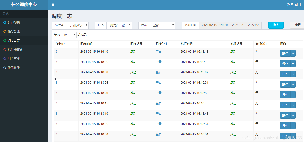
3.5. 执行任务日志

3.6. 结论
每隔5秒执行任务,业务逻辑执行6秒,实际控制台每隔10秒执行完毕!