
最近的项目中使用到element-ui组件库,由于做的是后台管理系统,所以经常需要操作表格,编辑样式的过程中遇到一些问题,官网针对table给出了很多的api,自己可以自定义,基本能满足产品需求,但是没有给出具体的案例,网上的资料也比较简略,这里简单整理下一些常用的操作,如果有类似的功能可以做一个参考。
具体的使用方法还是建议仔细阅读官网-table章节:
https://element.eleme.cn/#/zh-CN/component/table#table-column-scoped-slot
该项目demo已上传github,欢迎大家下载:
# 克隆到本地
git clone git@github.com:Hanxueqing/Element-table.git# 安装依赖
npm install# 开启本地服务器localhost
npm run dev
项目地址:
https://github.com/Hanxueqing/Element-table
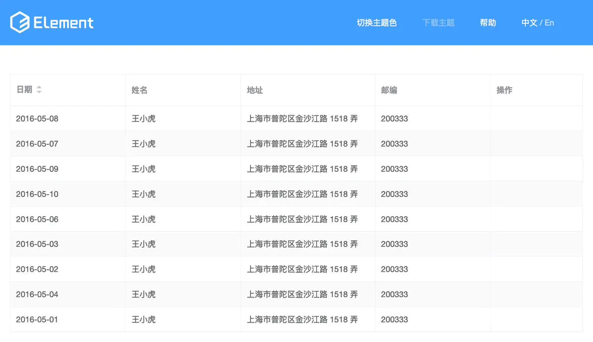
自定义列的内容
需求:在表格最后一栏添加操作按钮

通过slot-scope="scope"添加操作按钮,这是专门为我们提供的插槽,方便自定义添加不同的内容。
<el-table-column label="操作" width="160"><template slot-scope="scope"><el-button size="mini" type="primary" plain @click = "showIndex(scope.$index)">点击显示当前行下标</el-button></template>
</el-table-column>
根据下标可以对指定某一行进行操作

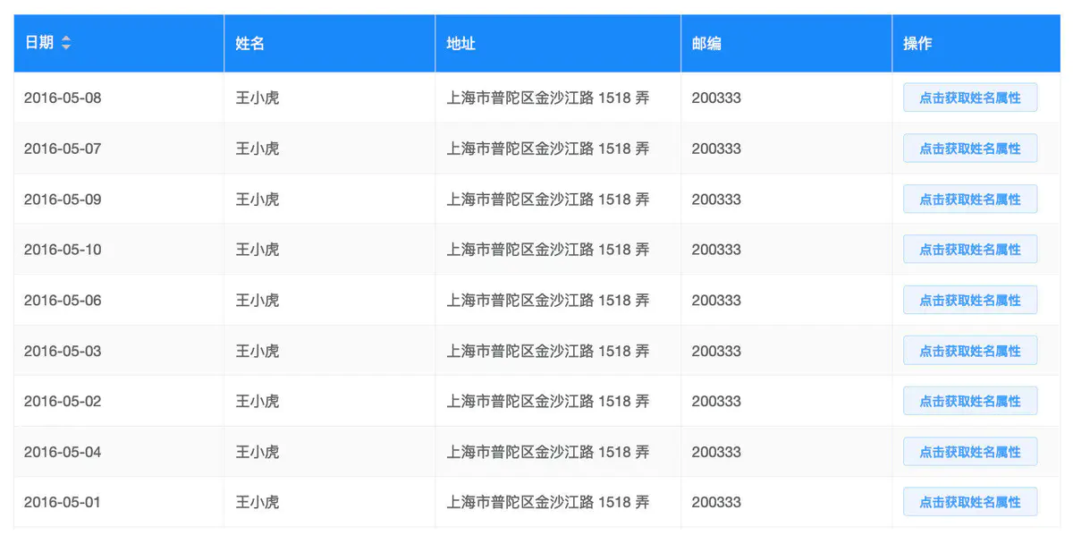
scope.row 获取当前属性值
通过scope.row属性名可以获取当前行对应的属性值
<el-table-column label="操作" width="160"><template slot-scope="scope"><el-button size="mini" type="primary" plain @click = "showName(scope.row.name)">点击获取姓名属性</el-button></template>
</el-table-column>

可以通过scope.row属性名和三目运算符给特殊的属性值设定样式
<el-table-column prop="name" :label="langConfig.table.name[lang]" width="200"><template slot-scope="scope"><div :class="scope.row.name === '王大虎' ? 'specialColor':''">{{scope.row.name}}</div></template>
</el-table-column>
编写specialColor样式,将字体颜色设置为红色
.specialColor{color:red;}
设置表头样式
需求:将表头样式改为背景色蓝色,字体颜色白色,字重400

header-cell-class-name
说明:表头单元格的 className 的回调方法,也可以使用字符串为所有表头单元格设置一个固定的 className。
类型:Function({row, column, rowIndex, columnIndex})/String
函数形式:将headerStyle方法传递给header-cell-class-name
<el-table :data="tableData[lang]" class="table" stripe border :header-cell-class-name="headerStyle">
编写headerStyle,返回class名称tableStyle
headerStyle ({row, column, rowIndex, columnIndex}) {return 'tableStyle'}
在style中编写tableStyle样式
<style lang = "scss">.tableStyle{background-color: #1989fa!important;color:#fff;font-weight:400;}
</style>
字符串形式:直接将tableStyle名称赋值给header-cell-class-name
<el-table :data="tableData[lang]" class="table" stripe border header-cell-class-name="tableStyle">
header-cell-style
说明:表头单元格的 style 的回调方法,也可以使用一个固定的 Object 为所有表头单元格设置一样的 Style。
类型:Function({row, column, rowIndex, columnIndex})/Object
函数形式:将tableHeaderStyle方法传递给header-cell-style
<el-table :data="tableData[lang]" class="table" stripe border :header-cell-style='tableHeaderStyle'>
编写tableHeaderStyle方法,返回样式
tableHeaderStyle ({row, column, rowIndex, columnIndex}) {return 'background-color:#1989fa;color:#fff;font-weight:400;'}
对象形式:直接在对象中编写样式
<el-table :data="tableData[lang]" class="table" stripe border :header-cell-style="{
'background-color': '#1989fa',
'color': '#fff',
'font-weight': '400'
}">
header-row-class-name
说明:表头行的className 的回调方法,也可以使用字符串为所有表头行设置一个固定的 className。
类型:Function({row, rowIndex})/String
使用方式与header-cell-class-name类似
注意:header-row-class-name与header-cell-class-name的区别:
header-row-class-name是添加在tr上面的,header-cell-class-name是添加在th上面的。
header-row-class-name:

所以想让添加在tr上的样式显示,需要关闭element-ui中原本的th的样式,否则会被覆盖!(例如背景色)

header-cell-class-name:

header-row-style
说明:表头行的 style 的回调方法,也可以使用一个固定的 Object 为所有表头行设置一样的 Style。
类型:Function({row, rowIndex})/Object
使用方式与header-cell-style类似
设置行样式
需求:将表格中行的背景色设置为浅蓝色

row-class-name
说明:行的 className 的回调方法,也可以使用字符串为所有行设置一个固定的 className。
类型:Function({row, rowIndex})/String
使用方式与header-cell-class-name类似
row-style
说明:行的 style 的回调方法,也可以使用一个固定的 Object 为所有行设置一样的 Style。
类型:Function({row, rowIndex})/Object
使用方式与header-cell-style类似
函数形式:将tableRowStyle方法传给row-style
<el-table :data="tableData[lang]" class="table" border :row-style="tableRowStyle">
编写tableRowStyle方法,返回样式
// 修改table tr行的背景色tableRowStyle ({ row, rowIndex }) {return 'background-color:#ecf5ff'}
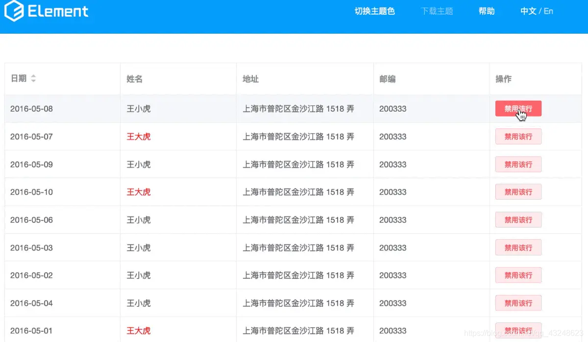
点击按钮操作当前行
需求:点击操作栏的按钮,切换按钮状态,并且将当前行置灰

通过slot-scope添加按钮
<el-table-column label="操作" width="160"><template slot-scope="scope"><el-button size="mini" type="danger" plain v-if = "scope.row.buttonVisible" @click = "changeTable(scope.row.buttonVisible,scope.$index)">禁用该行</el-button><el-button size="mini" type="primary" plain v-else @click = "changeTable(scope.row.buttonVisible,scope.$index)">启用该行</el-button></template>
</el-table-column>
在每一个data中添加buttonVisible字段,使用v-if/v-else指令实现按钮的显示与隐藏
{date: '2016-05-10',name: '王大虎',address: '上海市普陀区金沙江路 1518 弄',zip: 200333,buttonVisible: true
}
编写changeTable方法,点击按钮的时候更改buttonVisible的值
changeTable (buttonVisible, index) {this.tableData[index].buttonVisible = !buttonVisible
}
给el-table添加row-style,并且将tableRowStyle方法传递给row-style
<el-table :data="tableData" class="table" border :row-style="tableRowStyle">
编写tableRowStyle方法,根据每一行buttonVisible的值设置背景色
// 修改table tr行的背景色tableRowStyle ({ row, rowIndex }) {if (this.tableData[rowIndex].buttonVisible === false) {return 'background-color: rgba(243,243,243,1)'}}
Element-UI中关于table表格的那些骚操作