前言:
 C++专栏笔记来源于观看视频笔记
 配套视频:
 https://www.bilibili.com/video/BV1et411b73Z?p=16
基本代码框架:
#include <iostream>
using namespace std;
int main()
{system("pause");//等待程序return 0;
}
输出HelloWorld:
#include <iostream>
using namespace std;
int main()
{cout <<"HelloWorld"<<endl;//""之间的是你要输出的东西system("pause");//等待程序return 0;
}
变量:
 作用:给一段指定的内存空间起名,方便操作这段内存。
 语法:数据类型   变量名=初始值;
 示例:
#include <iostream>
using namespace std;
int main()
{int a=10;cout <<"a="<<a<<endl;system("pause");//等待程序return 0;
}
常量:
 作用:用于记录程序中不可更改的数据
 C++定义常量两种方式:
 1、#define宏常量:#define  常量名  常量值
- 通常在文件上方定义,表示一个常量
2、const修饰的变量 :const 数据类型 常量名=常量值
- 通常在变量定义前加关键字const,修饰该变量为常量不可修改
示例:
#include <iostream>
using namespace std;
#define day 7 //宏常量
int main()
{//day = 8;  //报错,宏常量不可以修改cout <<"一周里共有"<<day<<"天"<<endl;//2、const修饰变量const int month = 12;cout << "一年里总共有 " << month << " 个月份" << endl;//month = 24; //报错,常量是不可以修改的system("pause");//等待程序return 0;
}
关键字:
 作用:关键字是C++中预先保留的单词(标识符)
 注意:在定义变量或者常量时候,不要用关键字
C++关键字如下:
 
 提示:在给变量或者常量起名称时候,不要用C++得关键字,否则会产生歧义。
标识符命名规则:
 作用:C++规定给标识符(变量、常量)命名时,有一套自己的规则
- 标识符不能是关键字
- 标识符只能由字母、数字、下划线组成,无空格
- 第一个字符必须为字母或下划线
- 标识符中字母区分大小写
建议:给标识符命名时,争取做到见名知意的效果,方便自己和他人的阅读
数据类型:
 C++规定在创建一个变量或者常量时,必须要指定出相应的数据类型,否则无法给变量分配内存。
 1、整型
 作用:整型变量表示的是整数类型的数据
 C++中能够表示整型的类型有以下几种方式,区别在于所占内存空间不同:
  2、sizeof关键字
2、sizeof关键字
 作用:利用sizeof关键字可以统计数据类型所占内存大小(输出的是字节数)
 语法: sizeof( 数据类型 / 变量)
 示例:
#include <iostream>
using namespace std;
int main()
{cout << "short 类型所占内存空间为: " << sizeof(short) << endl;cout << "int 类型所占内存空间为: " << sizeof(int) << endl;cout << "long 类型所占内存空间为: " << sizeof(long) << endl;cout << "long long 类型所占内存空间为: " << sizeof(long long) << endl;system("pause");//等待程序return 0;
}
整型结论:short < int <= long <= long long
3、实型(浮点型)
 作用:用于表示小数
 浮点型变量分为两种:
- 单精度float
- 双精度double
两者的区别在于表示的有效数字(包括小数点前边的数字个数,如:3.14有效数字个数为3)范围不同(但是在c++中一般最多显示6位有效数字,要显示更多的需要自己配置)。
 
 示例:
#include <iostream>
using namespace std;
int main()
{float f1 = 3.14f;//f代表是单精度数据类型double d1 = 3.14;cout << f1 << endl;cout << d1<< endl;cout << "float  sizeof = " << sizeof(f1) << endl;cout << "double sizeof = " << sizeof(d1) << endl;//科学计数法float f2 = 3e2; // 3 * 10 ^ 2 cout << "f2 = " << f2 << endl;float f3 = 3e-2;  // 3 * 0.1 ^ 2cout << "f3 = " << f3 << endl;system("pause");//等待程序return 0;
}
2.4 字符型
 作用:字符型变量用于显示单个字符
语法:char ch = ‘a’;
注意1:在显示字符型变量时,用单引号将字符括起来,不要用双引号注意2:单引号内只能有一个字符,不可以是字符串
- C和C++中字符型变量只占用1个字节。
- 字符型变量并不是把字符本身放到内存中存储,而是将对应的ASCII编码放入到存储单元
示例:
#include <iostream>
using namespace std;
int main()
{char ch = 'a';cout << ch << endl;cout << sizeof(char) << endl;//ch = "abcde"; //错误,不可以用双引号//ch = 'abcde'; //错误,单引号内只能引用一个字符cout << (int)ch << endl;  //查看字符a对应的ASCII码ch = 97; //可以直接用ASCII给字符型变量赋值cout << ch << endl;system("pause");//等待程序return 0;
}
ASCII码表格:

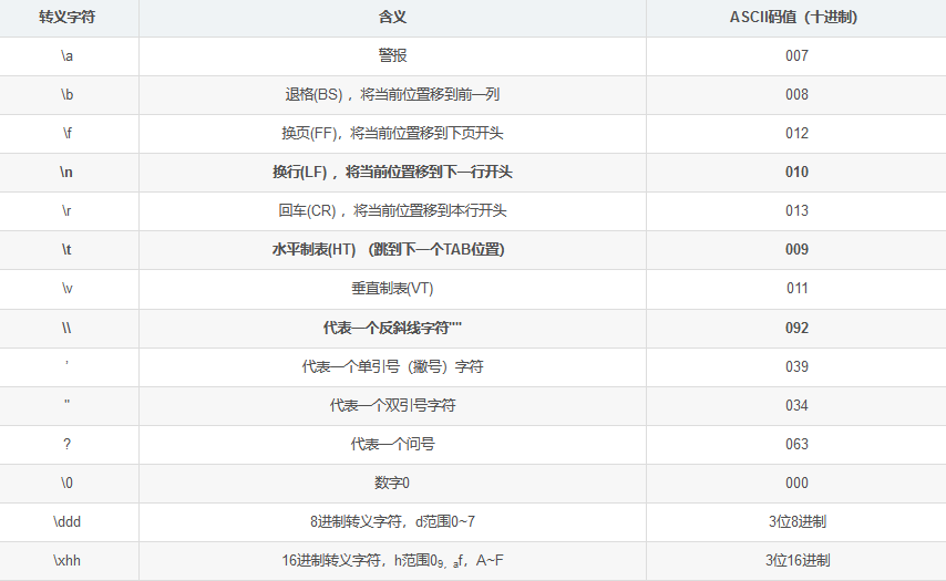
 5 、转义字符
 作用:用于表示一些不能显示出来的ASCII字符
 现阶段我们常用的转义字符有:\n \ \t
 
#include <iostream>
using namespace std;
int main()
{cout << "\\" << endl;cout << "\tHello" << endl;cout << "\n" << endl;system("pause");//等待程序return 0;
}
6 、字符串型
 作用:用于表示一串字符
 两种风格:
1、C风格字符串: char 变量名[]= “字符串值”
 示例:
#include <iostream>
using namespace std;
int main() {char str1[] = "hello world";cout << str1 << endl;system("pause");return 0;
}
注意:C风格的字符串要用双引号括起来
2、C++风格字符串: string 变量名 = “字符串值”
 示例:
#include <iostream>
#include<string>
using namespace std;
int main() {string str = "hello world";cout << str << endl;system("pause");return 0;
}
注意:C++风格字符串,需要加入头文件#include<string>
7、 布尔类型 bool
 作用:布尔数据类型代表真或假的值
 bool类型只有两个值:
- true — 真(本质是1)
- false — 假(本质是0)
bool类型占1个字节大小
 示例:
#include <iostream>
using namespace std;
int main() {bool flag = true;cout << flag << endl; // 1flag = false;cout << flag << endl; // 0cout << "size of bool = " << sizeof(bool) << endl; //1system("pause");return 0;
}
8 、数据的输入
 作用:用于从键盘获取数据
 关键字:cin
 语法: cin >> 变量
 示例:
#include <iostream>
#include<string>
using namespace std;
int main(){//整型输入int a = 0;cout << "请输入整型变量:" << endl;cin >> a;cout << a << endl;//浮点型输入double d = 0;cout << "请输入浮点型变量:" << endl;cin >> d;cout << d << endl;//字符型输入char ch = 0;cout << "请输入字符型变量:" << endl;cin >> ch;cout << ch << endl;//字符串型输入string str;cout << "请输入字符串型变量:" << endl;cin >> str;cout << str << endl;//布尔类型输入bool flag = true;cout << "请输入布尔型变量:" << endl;cin >> flag;cout << flag << endl;system("pause");return EXIT_SUCCESS;
}
运算符
 作用:用于执行代码的运算
 本章我们主要讲解以下几类运算符:
  1 、算术运算符
1 、算术运算符
 作用:用于处理四则运算
 算术运算符包括以下符号:
  示例1:
示例1:
//加减乘除
#include <iostream>
using namespace std;
int main() {int a1 = 10;int b1 = 3;cout << a1 + b1 << endl;cout << a1 - b1 << endl;cout << a1 * b1 << endl;cout << a1 / b1 << endl;  //两个整数相除结果依然是整数int a2 = 10;int b2 = 20;cout << a2 / b2 << endl; int a3 = 10;int b3 = 0;//cout << a3 / b3 << endl; //报错,除数不可以为0//两个小数可以相除double d1 = 0.5;double d2 = 0.25;cout << d1 / d2 << endl;system("pause");return 0;
}
总结:在除法运算中,除数不能为0
示例2:
//取模
#include <iostream>
using namespace std;
int main() {int a1 = 10;int b1 = 3;cout << 10 % 3 << endl;int a2 = 10;int b2 = 20;cout << a2 % b2 << endl;int a3 = 10;int b3 = 0;//cout << a3 % b3 << endl; //取模运算时,除数也不能为0//两个小数不可以取模double d1 = 3.14;double d2 = 1.1;//cout << d1 % d2 << endl;system("pause");return 0;
}
总结:只有整型变量可以进行取模运算
示例3:
//递增
#include <iostream>
using namespace std;
int main() {//后置递增int a = 10;a++; //等价于a = a + 1cout << a << endl; // 11//前置递增int b = 10;++b;cout << b << endl; // 11//区别//前置递增先对变量进行++,再计算表达式int a2 = 10;int b2 = ++a2 * 10;cout << b2 << endl;//后置递增先计算表达式,后对变量进行++int a3 = 10;int b3 = a3++ * 10;cout << b3 << endl;system("pause");return 0;
}
总结:前置递增先对变量进行++,再计算表达式,后置递增相反
2、赋值运算符
 作用:用于将表达式的值赋给变量
  示例:
示例:
#include <iostream>
using namespace std;
int main() {//赋值运算符//=int a = 10;a = 100;cout << "a = " << a << endl;// +=a = 10;a += 2; // a = a + 2;cout << "a = " << a << endl;// -=a = 10;a -= 2; // a = a - 2cout << "a = " << a << endl;// *=a = 10;a *= 2; // a = a * 2cout << "a = " << a << endl;// /=a = 10;a /= 2;  // a = a / 2;cout << "a = " << a << endl;// %=a = 10;a %= 2;  // a = a % 2;cout << "a = " << a << endl;system("pause");return 0;
}
3 、比较运算符
 作用:用于表达式的比较,并返回一个真值或假值
 比较运算符有以下符号:
  示例:
示例:
#include <iostream>
using namespace std;
int main() {int a = 10;int b = 20;cout << (a == b) << endl; // 0 cout << (a != b) << endl; // 1cout << (a > b) << endl; // 0cout << (a < b) << endl; // 1cout << (a >= b) << endl; // 0cout << (a <= b) << endl; // 1system("pause");return 0;
}
4、 逻辑运算符
 作用:用于根据表达式的值返回真值或假值
 逻辑运算符有以下符号:
 
 示例1:逻辑非
#include <iostream>
using namespace std;
//逻辑运算符  --- 非
int main() {int a = 10;cout << !a << endl; // 0cout << !!a << endl; // 1system("pause");return 0;
}
总结: 真变假,假变真
示例2:逻辑与
#include <iostream>
using namespace std;
//逻辑运算符  --- 与
int main() {int a = 10;int b = 10;cout << (a && b) << endl;// 1a = 10;b = 0;cout << (a && b) << endl;// 0 a = 0;b = 0;cout << (a && b) << endl;// 0system("pause");return 0;
}
总结:逻辑与运算符总结: 同真为真,其余为假
示例3:逻辑或
#include <iostream>
using namespace std;
//逻辑运算符  --- 或
int main() {int a = 10;int b = 10;cout << (a || b) << endl;// 1a = 10;b = 0;cout << (a || b) << endl;// 1 a = 0;b = 0;cout << (a || b) << endl;// 0system("pause");return 0;
}
逻辑或运算符总结: 同假为假,其余为真
程序流程结构
 C/C++支持最基本的三种程序运行结构:顺序结构、选择结构、循环结构
- 顺序结构:程序按顺序执行,不发生跳转
- 选择结构:依据条件是否满足,有选择的执行相应功能
- 循环结构:依据条件是否满足,循环多次执行某段代码
1 、选择结构
 1.1 if语句
 作用:执行满足条件的语句
 if语句的三种形式
- 单行格式if语句
- 多行格式if语句
- 多条件的if语句
①单行格式if语句:if(条件){ 条件满足执行的语句 }
 
示例:
#include <iostream>
using namespace std;
int main() {//选择结构-单行if语句//输入一个分数,如果分数大于600分,视为考上一本大学,并在屏幕上打印int score = 0;cout << "请输入一个分数:" << endl;cin >> score;cout << "您输入的分数为: " << score << endl;//if语句//注意事项,在if判断语句后面,不要加分号if (score > 600){cout << "我考上了一本大学!!!" << endl;}system("pause");return 0;
}
注意:if条件表达式后不要加分号
②多行格式if语句:if(条件){ 条件满足执行的语句 }else{ 条件不满足执行的语句 };
 
示例:
#include <iostream>
using namespace std;
int main() {int score = 0;cout << "请输入考试分数:" << endl;cin >> score;if (score > 600){cout << "我考上了一本大学" << endl;}else{cout << "我未考上一本大学" << endl;}system("pause");return 0;
}
③多条件的if语句:if(条件1){ 条件1满足执行的语句 }else if(条件2){条件2满足执行的语句}… else{ 都不满足执行的语句}
 
示例:
#include <iostream>
using namespace std;int main() {int score = 0;cout << "请输入考试分数:" << endl;cin >> score;if (score > 600){cout << "我考上了一本大学" << endl;}else if (score > 500){cout << "我考上了二本大学" << endl;}else if (score > 400){cout << "我考上了三本大学" << endl;}else{cout << "我未考上本科" << endl;}system("pause");return 0;
}
嵌套if语句:在if语句中,可以嵌套使用if语句,达到更精确的条件判断
 案例需求:
- 提示用户输入一个高考考试分数,根据分数做如下判断
- 分数如果大于600分视为考上一本,大于500分考上二本,大于400考上三本,其余视为未考上本科;
- 在一本分数中,如果大于700分,考入北大,大于650分,考入清华,大于600考入人大。
示例:
#include <iostream>
using namespace std;
int main() {int score = 0;cout << "请输入考试分数:" << endl;cin >> score;if (score > 600){cout << "我考上了一本大学" << endl;if (score > 700){cout << "我考上了北大" << endl;}else if (score > 650){cout << "我考上了清华" << endl;}else{cout << "我考上了人大" << endl;}}else if (score > 500){cout << "我考上了二本大学" << endl;}else if (score > 400){cout << "我考上了三本大学" << endl;}else{cout << "我未考上本科" << endl;}system("pause");return 0;
}
1.2 三目运算符
 作用: 通过三目运算符实现简单的判断
 语法:表达式1 ? 表达式2 :表达式3
 解释:
 如果表达式1的值为真,执行表达式2,并返回表达式2的结果;
如果表达式1的值为假,执行表达式3,并返回表达式3的结果。
三目运算符返回的是变量,可以继续赋值
 示例:
#include <iostream>
using namespace std;
int main() {int a = 10;int b = 20;int c = 0;c = a > b ? a : b;cout << "c = " << c << endl;//C++中三目运算符返回的是变量,可以继续赋值(a > b ? a : b) = 100;cout << "a = " << a << endl;cout << "b = " << b << endl;cout << "c = " << c << endl;system("pause");return 0;
}
总结:和if语句比较,三目运算符优点是短小整洁,缺点是如果用嵌套,结构不清晰
1.3 switch语句
 作用:执行多条件分支语句
 语法:
switch(表达式){case 结果1:执行语句;break;case 结果2:执行语句;break;...default:执行语句;break;}
示例:
#include <iostream>
using namespace std;
int main() {//请给电影评分 //10 ~ 9   经典   // 8 ~ 7   非常好// 6 ~ 5   一般// 5分以下 烂片int score = 0;cout << "请给电影打分" << endl;cin >> score;switch (score){case 10:case 9:cout << "经典" << endl;break;case 8:cout << "非常好" << endl;break;case 7:case 6:cout << "一般" << endl;break;default:cout << "烂片" << endl;break;}system("pause");return 0;
}
注意1:switch语句中表达式类型只能是整型或者字符型
注意2:case里如果没有break,那么程序会一直向下执行
总结:与if语句比,对于多条件判断时,switch的结构清晰,执行效率高,缺点是switch不可以判断区间
2、 循环结构
 2.1 while循环语句
 作用:满足循环条件,执行循环语句
 语法:while(循环条件){ 循环语句 }
 解释:只要循环条件的结果为真,就执行循环语句
 
示例:
#include <iostream>
using namespace std;
int main() {int num = 0;while (num < 10){cout << "num = " << num << endl;num++;}system("pause");return 0;
}
注意:在执行循环语句时候,程序必须提供跳出循环的出口,否则出现死循环
2.2 do…while循环语句
 作用: 满足循环条件,执行循环语句
语法: do{ 循环语句 } while(循环条件);
注意:与while的区别在于do…while会先执行一次循环语句,再判断循环条件
 
示例:
#include <iostream>
using namespace std;
int main() {int num = 0;do{cout << num << endl;num++;} while (num < 10);	system("pause");return 0;
}
总结:与while循环区别在于,do…while先执行一次循环语句,再判断循环条件
2.3 for循环语句
作用: 满足循环条件,执行循环语句
语法:for(起始表达式;条件表达式;末尾循环体) { 循环语句; }
示例:
#include <iostream>
using namespace std;
int main() {for (int i = 0; i < 10; i++){cout << i << endl;}system("pause");return 0;
}
注意:for循环中的表达式,要用分号进行分隔
总结:while , do…while, for都是开发中常用的循环语句,for循环结构比较清晰,比较常用
2.4 嵌套循环
 作用: 在循环体中再嵌套一层循环,解决一些实际问题
示例:
#include <iostream>
using namespace std;
int main() {//外层循环执行1次,内层循环执行1轮for (int i = 0; i < 10; i++){for (int j = 0; j < 10; j++){cout << "*" << " ";}cout << endl;}system("pause");return 0;
}
3 、跳转语句
 3.1 break语句
 作用: 用于跳出选择结构或者循环结构
 break使用的时机:
- 出现在switch条件语句中,作用是终止case并跳出switch
- 出现在循环语句中,作用是跳出当前的循环语句
- 出现在嵌套循环中,跳出最近的内层循环语句
示例1:
#include <iostream>
using namespace std;
int main() {//1、在switch 语句中使用breakcout << "请选择您挑战副本的难度:" << endl;cout << "1、普通" << endl;cout << "2、中等" << endl;cout << "3、困难" << endl;int num = 0;cin >> num;switch (num){case 1:cout << "您选择的是普通难度" << endl;break;case 2:cout << "您选择的是中等难度" << endl;break;case 3:cout << "您选择的是困难难度" << endl;break;}system("pause");return 0;
}
示例2:
#include <iostream>
using namespace std;
int main() {//2、在循环语句中用breakfor (int i = 0; i < 10; i++){if (i == 5){break; //跳出循环语句}cout << i << endl;}system("pause");return 0;
}
示例3:
#include <iostream>
using namespace std;
int main() {//在嵌套循环语句中使用break,退出内层循环for (int i = 0; i < 10; i++){for (int j = 0; j < 10; j++){if (j == 5){break;}cout << "*" << " ";}cout << endl;}system("pause");return 0;
}
3.2 continue语句
 作用:在循环语句中,跳过本次循环中余下尚未执行的语句,继续执行下一次循环
 示例:
#include <iostream>
using namespace std;
int main() {for (int i = 0; i < 100; i++){if (i % 2 == 0){continue;}cout << i << endl;}system("pause");return 0;
}
注意:continue并没有使整个循环终止,而break会跳出循环
3.3 goto语句
 作用:可以无条件跳转语句
语法: goto 标记
解释:如果标记的名称存在,执行到goto语句时,会跳转到标记的位置
示例:
#include <iostream>
using namespace std;
int main() {cout << "1" << endl;goto FLAG;cout << "2" << endl;cout << "3" << endl;cout << "4" << endl;FLAG:cout << "5" << endl;system("pause");return 0;
}
注意:在程序中不建议使用goto语句,以免造成程序流程混乱